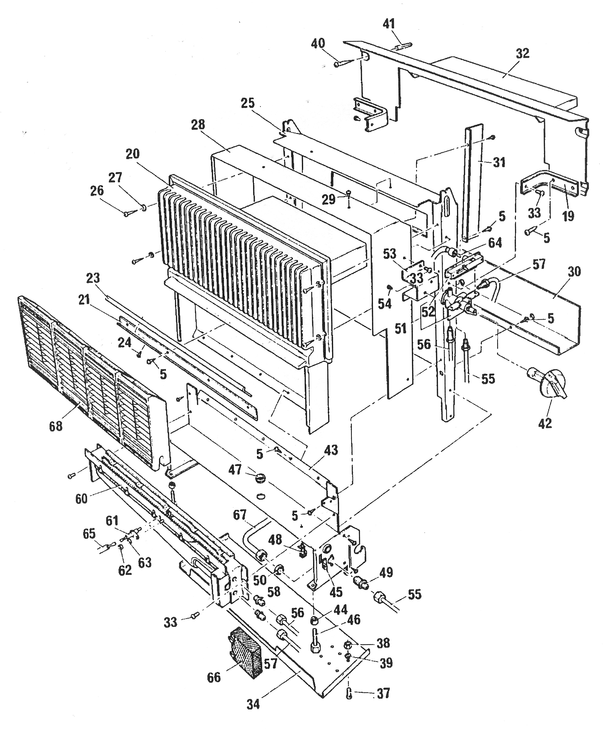
Baxi Bermuda C3 W / HEAT EXCHANGER & BURNER ASSY
Brand: Baxi Range: Bermuda Model: C3 W GC Number: 37-077-20
We have a range of spare parts for the Baxi Bermuda C3 W. Can't find the part you're looking for? You can contact us and a member of our team will be more than happy to help find the part you need.
All of our boiler manuals are free to download from our boiler manuals section
