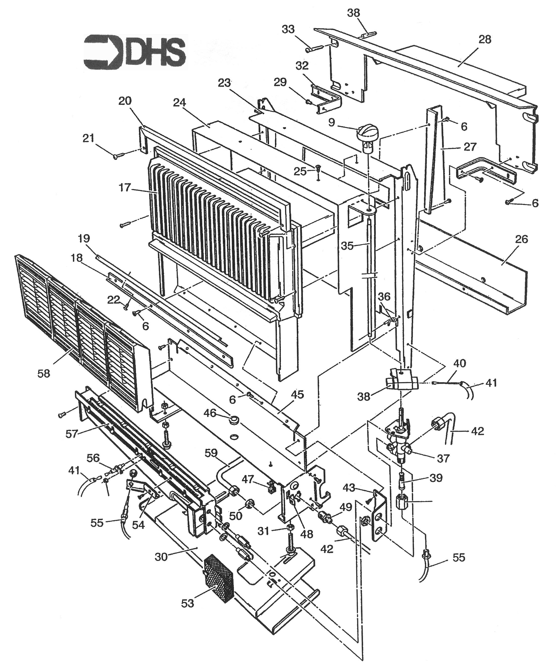
Baxi Bermuda C4 LPG / INNERCASE ASSY
Brand: Baxi Range: Bermuda Model: C4 LPG GC Number: 37-077-39
We have a wide range of spare parts for the Baxi Bermuda C4 LPG. Can't find the part you're looking for? You can contact us and a member of our team will be more than happy to help find the part you need.
All of our boiler manuals are free to download from our boiler manuals section
