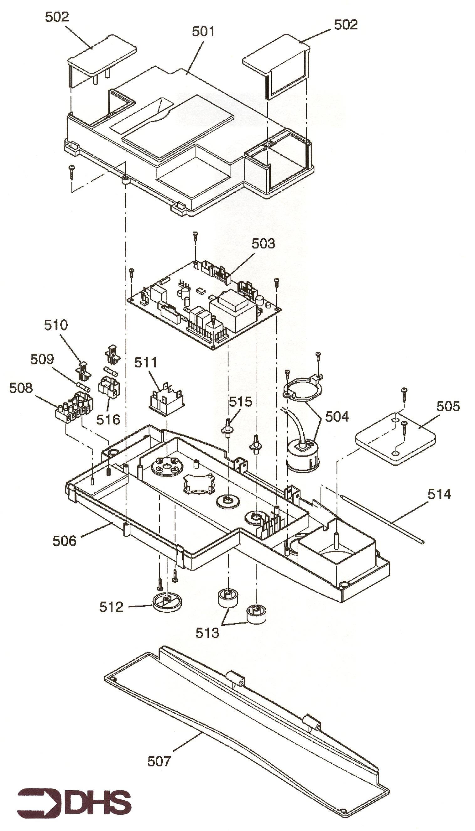
NXR4 415 NG / CONTROL PANEL - WHITE CASING

6

BAXI S136979 CABLE TERMINAL SUPPORT

Part No: 1134565 MPN: S136979

£20.12 inc VAT

Available in 5-7 working days

1 product found