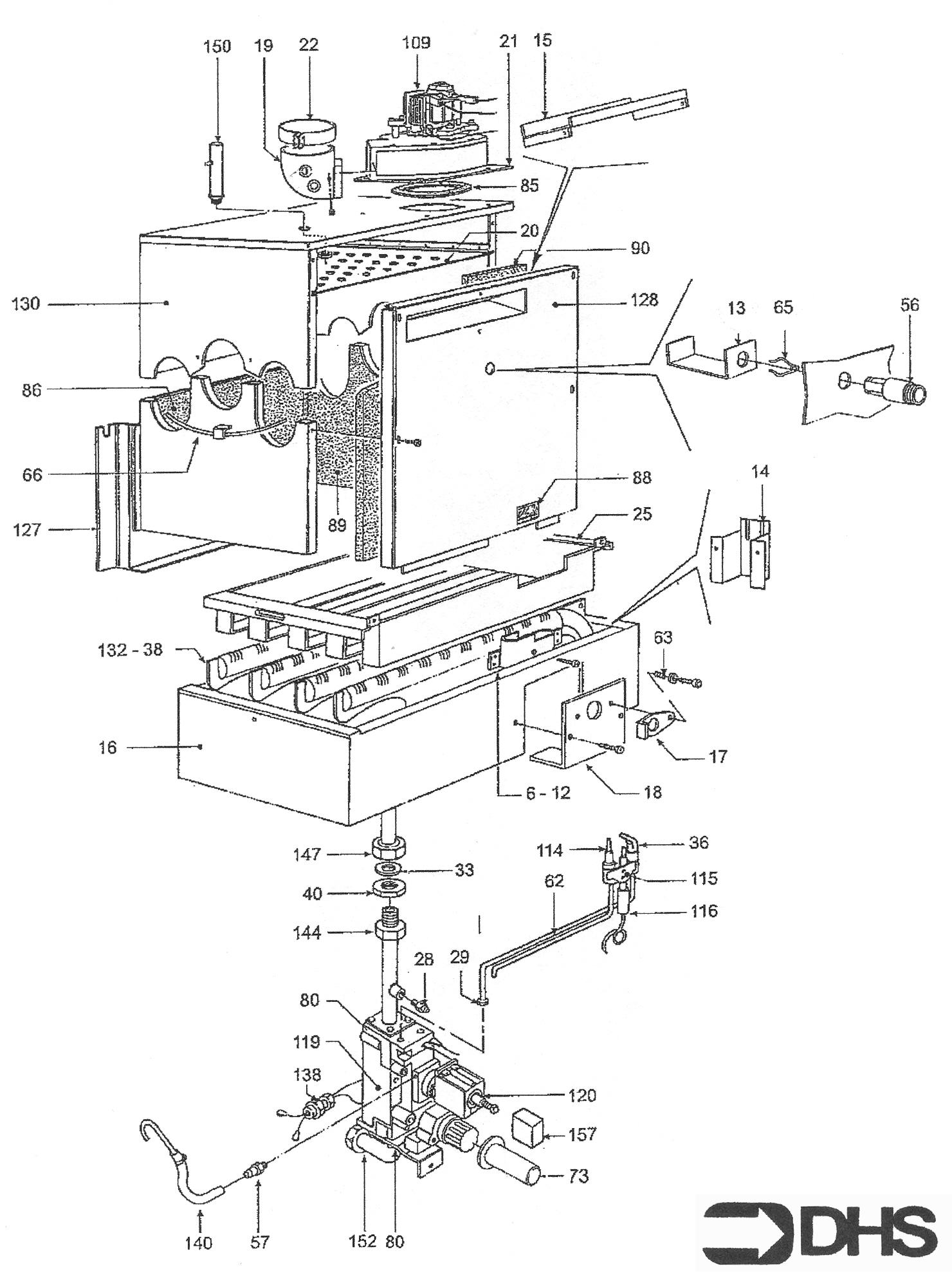
Ferroli Hawk 11 / GAS LINE
Brand: Ferroli Range: Hawk Model: 11 GC Number: 47-381-01
We have a wide range of spare parts for the Ferroli Hawk 11. Can't find the part you're looking for? You can contact us and a member of our team will be more than happy to help find the part you need.
All of our boiler manuals are free to download from our boiler manuals section
