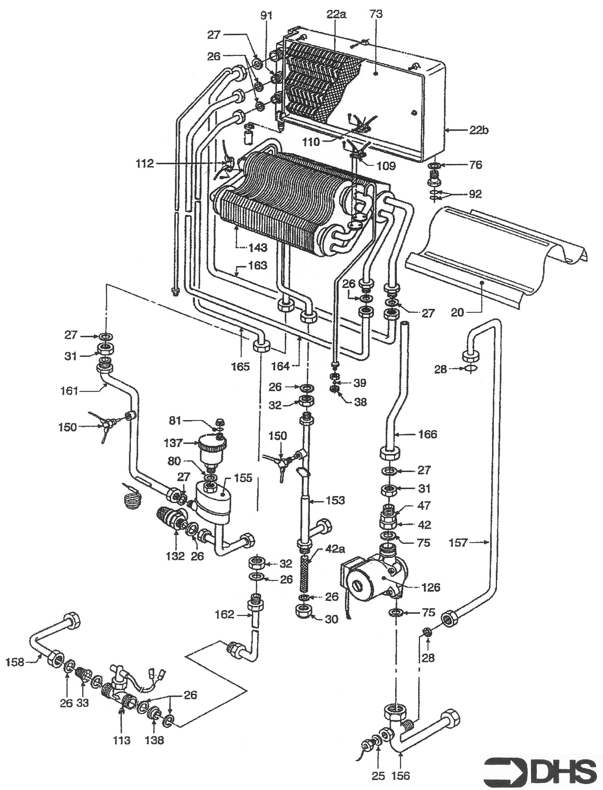
Ferroli Optima 2000 / HEAT EXCHANGER & PUMP
Brand: Ferroli Range: Optima Model: 2000 GC Number: 47-267-20
Here you can find the spare parts for the Ferroli Optima 2000. Can't find the part you're looking for? You can contact us and a member of our team will be more than happy to help find the part you need.
All of our boiler manuals are free to download from our boiler manuals section
