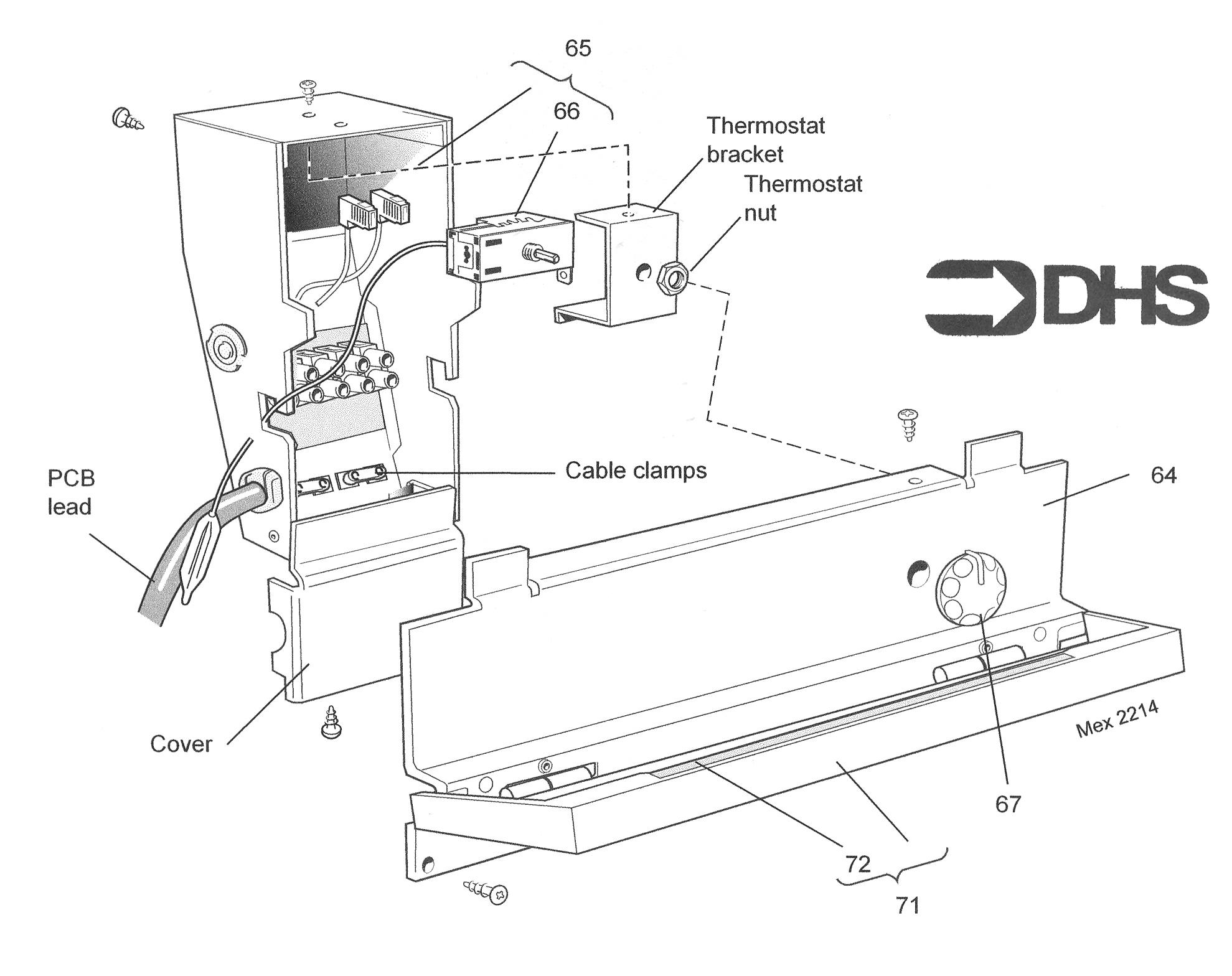
Ideal Domestic Mexico Super RS 440 / CONTROL PANEL
Brand: Ideal Domestic Range: MEXICO Super Model: RS 440 GC Number: 41-392-74
We have a range of spare parts for the Ideal Domestic Mexico Super RS 440. Can't find the part you're looking for? You can contact us and a member of our team will be more than happy to help find the part you need.
All of our boiler manuals are free to download from our boiler manuals section
