Ideal Domestic Mexico Super RS 60P / BOILER
Brand: Ideal Domestic Range: MEXICO Super Model: RS 60P
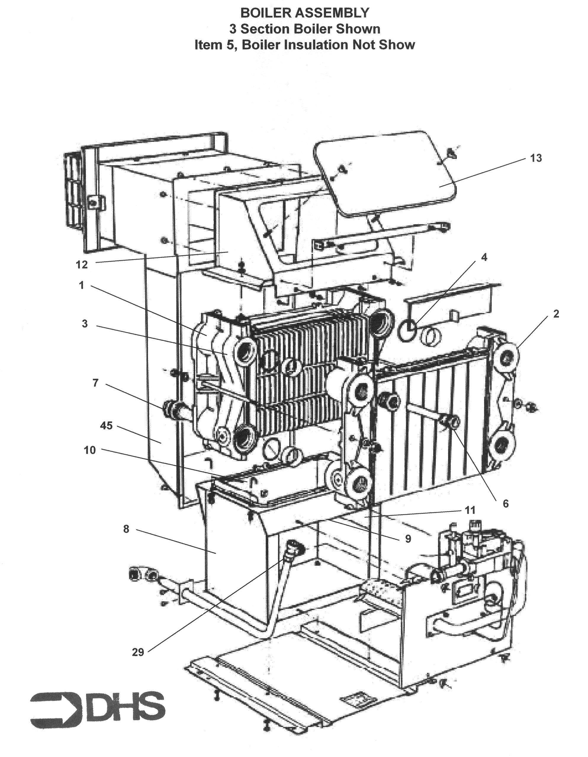
Here you will find all the spare parts for the Ideal Domestic Mexico Super RS 60P. Can't find the part you're looking for? You can contact us and a member of our team will be more than happy to help find the part you need.
All of our boiler manuals are free to download from our boiler manuals section
