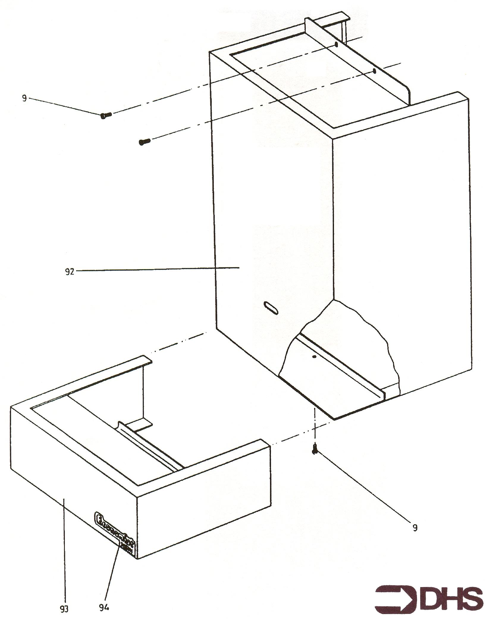
Myson Economist Wm 80/100 Bf / CASING

Brand: Myson Range: ECONOMIST Model: WM 80/100 BF

Here you will find all the spare parts for the Myson Economist Wm 80/100 Bf. Can't find the part you're looking for? You can contact us and a member of our team will be more than happy to help find the part you need.

All of our boiler manuals are free to download from our boiler manuals section

009

POTTERTON 633926 SCREW PANPOZ M5X10 MS NP

Part No: 1124205 MPN: 633926

Sorry, this part is now obsolete

View Part Details
1 product found